Bulldog dwustronny
Pierścienie kolczaste Bulldog pozwalają zaprojektować połączenie z użyciem mniejszej ilości śrub ściągających i dzięki temu zachować odpowiednie odległości miedzy śrubami i od krawędzi drewna. Sprawdzają się zarówno w połączeniu elementów drewnianych (Bulldog dwustronny) jak i połączeniu elementu drewnianego ze stalowym elementem (Bulldog jednostronny).
Szczegóły produktu
Właściwości
Materiał
Gatunek Stali:
- HC340LA
- DX51D
Ochrona antykorozyjna:
- Stal ocynkowana ogniowo metodą zanurzeniową grubość cynku ≥45
- Stal ocynkowana elektrolitycznie Z 275 g/m2 (20 µm)
Zalety
- Umożliwia demontaż
- Obróbka drewna nie jest konieczna
- Szeroki zakres asortymentu
- Mocne i trwałe połączenia
Zastosowanie
Połączenie
Belka - Belka
Element główny:
drewno lite, drewno kompozytowe, drewno klejone warstwowo, stal.
Element drugorzędny:
drewno lite, drewno kompozytowe, drewno klejone warstwowo.
Zastosowanie
Stosowane do połączenia elementów drewnianych dla zwiększenia nośności połączenia śrubowego w elementach konstrukcyjnych.
Dane techniczne
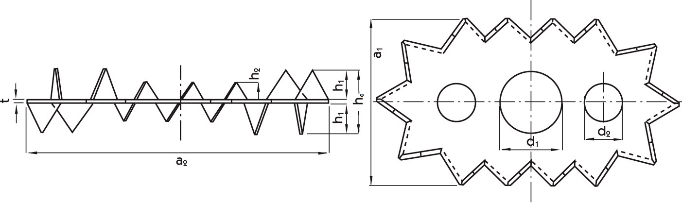
Wymiary - pierścienie okrągłe dwustronne C1
| Referencje | Typ | Wymiary [mm] | Ilość w opk. | ||||
|---|---|---|---|---|---|---|---|
| Średnica | Wysokość | Grubość | |||||
| Zewnętrzna | Otwór centralny | Ząb | Razem | t | |||
| dc | d1 | h1 | hc | ||||
| C1-50 | C1 | 50 | 17 | 6 | 13 | 1 | 200 |
| C1-62-B | C1 | 62 | 21 | 7.4 | 16 | 1.2 | 100 |
| C1-75-B | C1 | 75 | 26 | 9.1 | 19.5 | 1.3 | 100 |
| C1-50G-B | C1 | 50 | 17 | 6 | 13 | 1 | 200 |
| C1-62G-B | C1 | 62 | 21 | 7.4 | 16 | 1.2 | 100 |
| C1-75G-B | C1 | 75 | 26 | 9.1 | 19.5 | 1.3 | 100 |
| C1-95G-B | C1 | 95 | 33 | 11.3 | 24 | 1.4 | 40 |
| C1-117G-B | C1 | 117 | 48 | 14.3 | 30 | 1.5 | 25 |
Minimalne odległości i nośności charakterystyczne
| Referencje | Typ | Wybrana grubośc drewna | Odległości minimlne | Charakterystyczna nośnośc na ścinanie (bez uwzględnienia śruby) | ||||||
|---|---|---|---|---|---|---|---|---|---|---|
| t1 [mm] | t2 [mm] | Rozstaw równolegle do włókien | Rozstaw prostopadle do włókien | Od końca obciążonego | Od końca nieobciążonego | Od boku obciążonego | Od boku nieobciążonego | Rv.k [kN] | ||
| a1 α=0° [mm] | a2 [mm] | a3.t [mm] | a3.c α=90° [mm] | a4.t α=90° [mm] | a4.c [mm] | |||||
| C1-50 | C1 | 18 | 30 | 75 | 60 | 75 | 75 | 40 | 30 | 6.3 |
| C1-62-B | C1 | 23 | 37 | 93 | 75 | 93 | 93 | 50 | 38 | 8.7 |
| C1-75-B | C1 | 28 | 46 | 113 | 90 | 113 | 113 | 60 | 45 | 11.6 |
| C1-50G-B | C1 | 18 | 30 | 75 | 60 | 75 | 75 | 40 | 30 | 6.3 |
| C1-62G-B | C1 | 23 | 37 | 93 | 75 | 93 | 93 | 50 | 38 | 8.7 |
| C1-75G-B | C1 | 28 | 46 | 113 | 90 | 113 | 113 | 60 | 45 | 11.6 |
| C1-95G-B | C1 | 34 | 57 | 143 | 114 | 143 | 143 | 76 | 57 | 16.6 |
| C1-117G-B | C1 | 43 | 72 | 176 | 141 | 176 | 176 | 94 | 71 | 22.7 |
| C3-73/130G-B | C3 | 40 | 67 | 146 | 117 | 146 | 146 | 78 | 59 | 17.1 |
| C5-100G-B | C5 | 22 | 37 | 150 | 120 | 150 | 150 | 80 | 60 | 18 |
| C5-130G-B | C5 | 28 | 47 | 195 | 156 | 195 | 195 | 104 | 78 | 26.6 |
Nośności charakterystyczne zostały okreslone z godnie z zasadami zawartywmi w Eurokodzie 5.
Nosność pierścieni jest podana bez udziału śruby.
Instalacja
Montaż
Montaż
- Instalacja odbywa się podczas dokręcania śruby, zęby są wciskane w element drewniany.
- Montaż śrub wymaga zawsze dwóch podkładek.